
At about the time that Laura Ingles was growing up in the Little House On The Prairie (1870's), a gentlman named Wesley Gary from Pensylvania,USA made a remarkable but little noticed discovery. According to an articlein Harpers Magazine (still published today),
Gary discovered a subtle ferromagnetic phenomena that allowed him to do the impossible, he constructed a machine that seemed to run with no external energy input. Such a device would normally be considered an impossible perpetual motion machine because it would seem to violate a basic law of nature, the conservation of energy.
The conservation of energy (or mass/energy) is also called the First Law of Thermodynamics. It is based on the principle of cause and effect,nothing can happen without some cause. Its seems like a self evident principle of nature.
So how can any person educated in basic physics entertain the possibiltiy that a story of a self-acting motor mechanism could be true?
What if the "perpetual motion machine" was powered by a hidden source of energy ? What might such a source of energy be ?
I wish to propose a possibility for you to consider, FLUCTUATION ENERGY.
Fluctuation energy is real and it is everywhere present. It has two forms, heat energy, and the fluctuations due to the wave nature of matter and the quantized reality of space and time (zero point energy).
Heat or thermal energy is the easiest to comprehend.
Another basic law of physics is the 2nd Law of Thermodynamics. As applied to devices that extract energy from heat, the 2nd Law says that in order to get work from thermal energy there must be a difference in temperature.
In other words, a heat engine or other device that extracts energy from heat must move heat energy from a higher temperature source to a lower temperature sink.
The 2nd Law would seem to forbid any possiblity of getting useful work from heat energy that has a uniform temperature since there would not bea difference in temperature.
However, at a small enough scale, temperature differences spontaneously appear due to the statistical nature of heat energy. Could these tiny differences in temperature be used by tiny heatengines ?
The physicist James Clerk Maxwell considered this possibility seriously.He proposed a thought experiment.
He imagined two adjoining chambers filled with air or some other gas. Between the two chambers there would be tiny holes with doors that could open and close under the control of a tiny operators or "demons".
The two chambers could be called the "hot"and "cold" chambers.
When the demons would see a fast molecule heading for the hole into the "hot" chamber they would open the door to let it in the "hot" chamber while excluding slow molecules.Thus the "hot" chamber would be kept at a higher temperature than the "cold" chamber. The difference in temperature between the two chambers could be used to operate a heat engine.
The idea of "Maxwell'sDemon" has been debated ever since and has not yet been resolved.Of course, today at least, Maxwell's Demon is not a practicle idea evenif tiny computers could replace the demon as door operators.
Even if tiny trap doors are impractical, could there be other possibilitie sof extracting energy from ambient heat energy. Percy Williams Bridgman,who won the Nobel Prize for his work in thermodynamics, wrote in his bookTHE NATURE OF THERMODYNAMICS, that he could not come up with a reason why some day man might not invent a device to do this.
He envisioned something that might use some sort of microscopic RATCHET MECHANISM tha toperates on the atomic or molecular scale.
Could such atomic ratchet mechanisms already exist ? We would expectto find them in some kind of structure where atoms interact with each other in an orderly array and also are subject to the fluctuations of heat energy.I think the most obvious candidate for consideration is ferromagnetism.
Ferromagnetism is an interaction of quadrillions of atomic magnets that behave in very complex ways. In fact, ferromagnetic interactions ina crystal could be considered to be a kind of computer, called a cellular automata machine. A ferromagnetic crystal can be considered a massively parrallel cellular automata supercomputer.
Could such a computer organizethermal fluctuation energy into useful high grade energy ? I believe it can under some very special conditions. I think it is very possible that 123 years ago Wesley Gary discovered a phenomena, that although of very small scale at first, could be of immense importance to the future of energy generation !
For an understanding of what Wesley Gary found read this article from1879.
This article describing Wesley Gary's invention and history is from Harper's New Monthly Magazine - March 1879 pages 601-605. The original article was retyped courtesy of John Draper. It has been checked, and theillustrations have been cleaned up from the original degraded copies ofthe old magazine article.
GARY'S MAGNETIC MOTOR
With an ordinary horseshoe magnet, a bit of soft iron, and a commonshingle- nail, a practical inventor, who for years has been pondering overthe power lying dormant in the magnet, now demonstrates as his discoverya fact of the utmost importance in magnetic science, which has hither to escaped the observation of both scientists and practical electricians,namely, the existence of a neutral line in the magnetic field -- a linewhere the polarity of an induced magnet ceases, and beyond which it changes.With equally simple appliances he shows the practical utilization of his discovery in such a way as to produce a magnetic motor, thus opening up a bewildering prospect of the possibilities before us in revolutionizingthe present methods of motive power through the substitution of a wonderfully cheap and safe agent. By his achievement Mr. Wesley W. Gary has quite upsetthe theories of magnetic philosophy hitherto prevailing, and lifted magnetism out from among the static forces where science has placed it, to the position of a dynamic power. The Gary Magnetic Motor, the result of Mr. Gary's long years of study, is, in a word, a simple contrivance which furnishes its own power, and will run until worn out by the force of fraction, coming dangerously near to that awful bug bear, perpetual motion.
The old way of looking at magnetism has been to regard it as a force like that of gravitation,the expenditure of an amount of energy equal to its attraction being required to overcome it; consequently its power could not be availed of.
Acceptingt his theory, it would be as idle to attempt to make use of the permanent magnet as a motive power as to try to lift one's self by one's boot straps.But Mr. Gary, ignoring theories, toiled away at his experiments with extraordinary patience and perseverance, and at last made the discovery which seems to necessitate the reconstruction of the accepted philosophy.
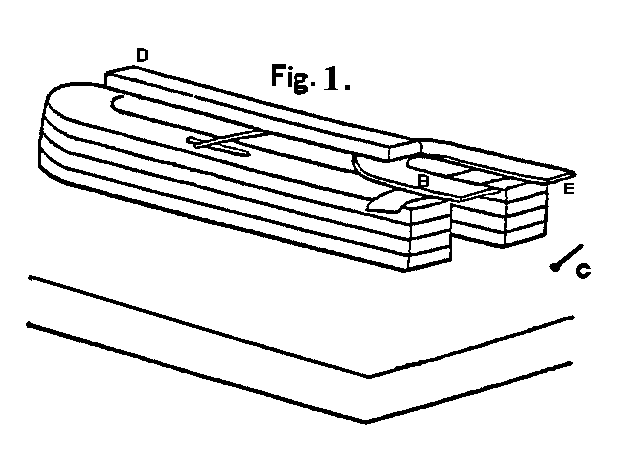
To obtain a clear idea of the Gary Magnetic Motor, it is necessary firstto comprehend thoroughly the principle underlying it -- the existence ofthe neutral line and the change in polarity,which Mr. Gary demonstratesby his horseshoe magnet, his bit of soft iron, and his common shingle-nail.
This is illustrated in Figure 1.

By pressing the finger on the lever at D the iron is raised above theneutral line. Now let the nail be applied to the end of the induced magnet at E; it clings to it, and the point is turned inward toward the pole ofthe magnet directly below, thus indicating that the induced magnet is of opposite polarity from the permanent one.
Now let the iron be gradually lowered toward the magnet; the nail drops off at the neutral line, but it clings again when the iron is lowered below the line, and now its point is turned outward, or away from the magnetic pole below.
In this way Mr. Gary proves that the polarity of an induced magnet ischanged by passing over the neutral line without coming in contact. Inthe experiment strips of paper are placed under the soft iron, or induced magnet, as shown in the figure, to prevent contact.
The neutral line is shown to extend completely around the magnet; and a piece of soft iron placed upon this line will entirely cut off the attraction of the magnet from any thing beyond. The action of this cutoff is illustratedin Fig. 2.
The letters A and B represent the one a balanced magnet and the othera stationary magnet. The magnet A is balanced on a joint, and the two magnets are placed with opposite poles facing each other.
The letter C is a piece of thin or sheet iron, as the case may be, madefast to a lever with a joint in the centre, and so adjusted that the ironwill move on the neutral line in front of the poles of the stationary magnet.
By pressing the finger on the lever at D the iron is raised, thus withdrawingthe cut-off so that the magnet A is attracted and drawn upward by the magnetB. Remove the finger, and the cut-off drops between the poles, and, inconsequence, the magnet A drops again.
The same movement of magnets can be obtained by placing a piece of ironacross the poles of the magnet B after the magnet A has been drawn nearto it.
The magnet A will there upon immediately fall away; but the iron can only be balanced, and the balance not disturbed, by the action of the magnets upon each other when the iron is on the neutral line, and does not move nearer or farther away from the magnet B.
It may not be found easy to demonstrate these principles at the first trials. But it should be borne in mind that it took the inventor himself four years after he had discovered the principle to adjust the delicatebalance so as to get a machine which would go.
Now, however, that he has thought out the entire problem, and frankly tells the world how he has solved it, any person at all skillful and patient,and with a little knowledge of mechanics, may soon succeed in demonstratingit for himself.
The principle underlying the motor and the method by which a motionis obtained now being explained, let us examine the inventor's working models.
The beam movement is the simplest, and by it, it is claimed, the mostpower can be obtained from the magnets. This is illustrated in Fig. 3.
The letter A represents a stationary magnet, and B the soft iron, or induced magnet, fastened to a lever witha joint in the centre, and so balanced that the stationary magnet willnot quite draw it over the neutral line.
The letter C represents a beam constructed of double magnet, clampedtogether in the centre and balanced on a joint. One end is set opposite the stationary magnet, with like poles facing each other.
The beam is so balanced that when the soft iron B on the magnet A isbelow the neutral line, it (the beam) is repelled down to the lower dottedline indicated by the letter D. The beam strikes the lever E with the pin F attached, and drives it (the Lever) against the pin G, which is attached to the soft iron B, which is thus driven above the neutral line, where its polarity changes.
The soft iron now attracts the beam magnet C to the upper dotted line,whereupon it (the soft iron) is again drawn down over the neutral line,and its polarity again changing, the beam magnet C is again repelled tothe lower line, continuing so to move until it is stopped or worn out.
This simply illustrates the beam movement. To gain a large amount ofpower the inventor would place groups of compound stationary magnets above and below the beam at each side, and the soft iron induced magnets, in this case four in number, connected by rods passing down between the poles of the stationary magnets.
A "Pittman" connecting the beam with a fly-wheel to changethe reciprocating into a rotary motion would be the means of transmitting the power. With magnets of great size an enormous power, he claims, couldbe obtained in this way.
One of the daintiest and prettiest of Mr. Gary's models is that illustrating the action of a rotary motor. There is a peculiar fascination in watching the action of this neat little contrivance.
It is shown in Fig. 4. The letter A represents an upright magnet hung on a perpendicular shaft; B, the horizontal magnets; C, the soft iron whichis fastened to the lever D; E, the pivoted joint on which lever is balanced;and F, the thumb-screw for adjusting the movement of the soft iron.
This soft iron is so balanced that as the north pole of the uprigh tmagnet A swings around opposite and above the south pole of the horizontal magnets B, it drops below the neutral line and changes its polarity.
As the magnet A turns around until its north pole is opposite and abovethe north pole of the magnets B, the soft iron is drawn upward and overthe neutral line, so that its polarity is changed again. At this point the polarity in the soft iron C is like that of the permanent magnets Aand B.
To start the engine the magnet A is turned around to the last-named position, the poles opposite like poles of the magnets B; then one poleof the magnet A is pushed a little forward and over the soft iron.
This rotary magnet is repelled by the magnets B, and also by the soft iron; it turns around until the unlike poles of the permanent magnets become opposite; as they attract each other the soft iron drops below the neutralline, the polarity changes and becomes opposite to that of the magnets B and like that of the magnet A; the momentum gained carries the pole ofA a little forward of B and over the soft iron, which, now being of like polarity, repels it around to the starting-point, completing the revolution.
The magnets A and B now compound or unit their forces, and the soft iron is again drawn up over the neutral line; its polarity is changed,and another revolution is made without any other force applied than theforce of the magnets. The motion will continue until some outside force is applied to stop it, or until the machine is worn out.
The result is the same as would be obtained were the magnets B removed and the soft iron coiled with wire, and battery force applied sufficientto give it the same power that it gets from the magnets B, and a current-changer applied to change the polarity.
The power required to work the current-changer in this case would be in excess of the power demanded to move the soft iron over the neutralline, since no power is required from the revolving magnet under these circumstances, it being moved by the magnets compounding when like poles are opposite each other, three magnets thus attracting the iron.
When opposite poles are near together, they attract each other and let the iron drop below the line. The soft iron, with its lever, is finely balanced at the joint, and has small springs applied and adjusted so asto balance it against the power of the magnets. In this working model thesoft iron vibrates less than a fiftieth of an inch.
This rotary motion is intended for use in small engines where light power is required, such as propelling sewing-machines, for dental work,show windows, etc..
When Wesley Gary was a boy of nine years, the electric telegraph wasin its infancy and the marvel of the day; and his father, who was a clergy manin Cortland County, New York, used to take up matters of general interest and make them the subject of an occasional lecture, among other things,giving much attention to the explanation of this new invention.
To illustrate his remarks on the subject he employed an electro-magnetic machine.
This and his father's talk naturally excited the boy's curiosity,and he used to ponder much on the relations of electricity and magnetism,until he formed a shadowy idea that some how they must become a great power in the world.
He never lost his interest in the subject, though his crude experiments were interrupted for a while by the work of his young manhood. When thechoice of a calling was demanded, he at first had a vague feeling thathe would like to be an artist.
"But," he says, "my friends would have thought that almostas useless and impractical as to seek for perpetual motion." At lasthe went into the woods a-lumbering, and took contracts to clear large tractsof woodland in Western and Central New York, floating the timber down thecanals to Troy.
He followed this business for several years, when he was forced to abandon it by a serious attack of inflammatory rheumatism, brought about through exposure in the woods. And this, unfortunate as it must have seemed at the time, proved the turning-point in his life.
His family physician insisted that he must look for some other means of livelihood than lumbering. To the query, "What shall I do?"it was suggested that he might take to preaching, following in the footstepsof his father, and of a brother who had adopted the profession.
But this he said he could never do: he would do his best to practice,but he couldn't preach. "Invent something, then, "said the doctor."There is no doubt in my mind that your were meant for an inventor."This was really said in all seriousness, and Mr. Gary was at length persuaded that the doctor knew him better than he did himself.
His thoughts naturally recurring to the experiments and the dreams ofhis youth, he determined to devote all his energies to the problem. He felt more and more confident, as he dwelt on the matter, that a great forcelay imprisoned within the magnet; that some time it must be unlocked andset to doing the world's work; that the key was hidden somewhere, and thathe might find it as well as some one else.
At Huntingdon, Pennsylvania, Mr. Gary made his first practical demonstration,and allowed his discovery to be examined and the fact published. He hadlong been satisfied, from his experiments, that if he could devise a "cut-off,"the means of neutralizing the attractive power of a stationary magnet onanother raised above it and adjusted on a pivot, unlike poles opposite,and so arrange this cut-off as to work automatically, he could producemotion in a balanced magnet.
To this end he persistently experimented, and it was only about fouryears ago that he made the discovery, the key to his problem, which isthe basis of his present motor, and upsets our philosophy.
In experimenting one day with a piece of soft iron upon a magnet hemade the discovery of the neutral line and the change of polarity. At firsthe gave little attention to the discovery of the change of polarity, notthen recognizing its significance, being absorbed entirely by the possibilitiesthe discovery of the neutral line opened up to him. Here was the pointfor his cut-off.
For a while he experimented entirely with batteries, but in September,1874, he succeeded in obtaining a movement independent of the battery.This was done on the principle illustrated in Fig. 2.
The balanced magnet, with opposite poles to the stationary magnet, wasweighted so that the poles would fall down when not attracted by the stationarymagnet.
When it was attracted up to the stationary magnet, a spring was touchedby the movement, and thus the lever with the soft iron was made to descendbetween the two magnets on the neutral line, and so cutting off the mutualattraction.
Then the balanced magnet, responding to the force of gravitation, descended,and, when down, struck an other spring, by means of which the cut-off waslifted back to its original position, and consequently the force of attractionbetween the magnets was again brought into play.
In June, the following year, Mr. Gary exhibited this continuous movement to a number of gentlemen, protecting himself by covering the cut-off with copper, so as to disguise the real material used, and prevent any one from robbing him of his discovery.
The publication in the local newspaper of the performance of the little machine, which was copied far and wide, excited much interest. But theinventor was by no means satisfied. He had succeeded in securing a continuous motion, but not a practical motor.
He had invented a unique play thing, but not a machine that would doman's work. So he made further experiments in one direction and another,using for a long time the battery; and it was not until some time afterhe moved to Boston (which was about two years ago) that he was convinced that the points in the change of polarity, with which he was so littleimpressed when he first hit upon them along with his discovery of the neutralline, were the true ones to work upon.
Thereafter his progress was most rapid, and in a little while he hadconstructed working models, not only to his own satisfaction, but to thatof those experts who had the fairness to give them a critical and thorough examination, clearly demonstrating his ability to secure motion and power,as they had never before been secured, from self-feeding and self-acting machines.
His claim, as he formally puts it, is this: "I have discoveredthat a straight piece of iron placed across the poles of magnet, and nearto their end, changes its polarity while in the magnetic field and beforeit comes in contact with the magnet, the fact being, however, that actual contact is guarded against.
The conditions are that the thickness of the iron must be proportioned to the power of the magnet, and that the neutral line, or line of change in the polarity of the iron, is nearer or more distant from the magnet according to the power of the latter and the thickness of the former.
(The following illustrations come from Westley's Canadian patent for his generator shown in fig. 5, this drawing is not in the Harpers article but aids understanding. TV )
My whole discovery is based upon this change of polarity in the iron,with or without a battery."
Power can be increased to any extent, or diminished, by the additionor withdrawal of magnets.
Mr. Gary is forty-one years old, having been born in 1837. During theyears devoted to working out his problem he has sustained himself by the proceeds from the sale of a few useful inventions made from time to timewhen he was forced to turn aside from his experiments to raise funds.
From the sale of one these inventions -- a simple little thing -- herealized something like ten thousand dollars.
The announcement of the invention of the magnetic motor came at a moment when the electric light excitement was at its height. The holders of gas stocks were in a state of anxiety, and those who had given attention to the study of the principle of the new light expressed the belief that it was only the question of the cost of power used to generate the electricity for the light that stood in the way of its general introduction and substitution for gas.
A prominent electrician, who was one day examining Mr. Gary's principle,asked if in the change of polarity he had obtained electric sparks. Hesaid that he had, and the former then suggested that the principle be used in the construction of a magneto-electric machine, and that it might turnout to be superior to anything then in use.
Acting on this suggestion, Mr. Gary set to work, and within a week had perfected a machine which apparently proved a marvel of efficiency and simplicity.
In all previous machines electricity is generated by revolving a piece of soft iron in front of the poles of a permanent magnet. But to do this at a rate of speed high enough to produce sparks in such rapid successionas to keep up a steady current of electricity suitable for the light, considerable power is required.
In Mr. Gary's machine, however ,the piece of soft iron, or armature,coiled with wire, has only to be moved across the neutral line to securethe same result.
Every time it crosses the line it changes it polarity, and every timethe polarity changes, a spark is produced. The slightest vibration is enoughto secure this, and with each vibration two sparks are produced, just aswith each revolution in the other method. An enormous volume can be securedwith an expenditure of force so diminutive that a caged squirrel mightfurnish it. (fig. 5: This also does not appear in the Harpers article butcome from Gary's Canadian Patent.)
With the employment of one of the smallest of the magnetic motors, powermay be supplied and electricity generated at no expense beyond the costof the machine.
The announcement of the invention of the magnetic motor was naturallyreceived with incredulity, although the recent achievements in mechanical science had prepared the public for almost anything, and it could not bevery much astonished at whatever might come next.
Some admitted that there might be something in it; others shrugged theirshoulders and said, "Wait and see;" while the scientific referredall questioners to the laws of magnetic science; and all believers in book authority responded, "It can't be so, because the law says it can't."
A few scientists, however, came forward, curious to see, and examinedMr. Gary's models; and when reports went out of the conversion of two orthree of the most eminent among them, interest generally was awakened,and professors from Harvard and from the Massachusetts Institute of Technologycalled, examined, and were impressed.
More promptly than the scientists, capitalists moved; and before sciencehad openly acknowledged the discovery and the principle of the invention,men of money were after Mr. Gary for the right to use the motor for various purposes: one wished to use it for clocks, another for sewing-machines,others for dental engines, and son on.
It is as yet too soon to speculate upon what may result from the discovery;but since it produces power in two ways, both directly by magnets and indirectlyby the generation of unlimited electricity, it would seem that it really might become available in time for all purposes to which electricity mightlong ago have been devoted except for the great expense involved.
Within one year after the invention of the telephone it was in practical use all over the world, from the United States to Japan.
And it is not incredible that in 1880 one may be holding a magnetic motor in his pocket, running the watch which requires no winding up, and,seated in a railway car, be whirling across the continent behind a locomotive impelled by the same agency.
Harper's New Monthly Magazine - March 1879 pages 601-605Text retyping courtesy of John Draper
HTML and image enhancement by Tim Vaughan
![]()
![]()
![]()